Во иднина отворените возила кои немаат покрив би можеле да бидат побезбедни со новиот изум на Porsche – странично воздучно перниче. Истото е веќе патентирано во САД.
Токму поради фактот што кабриолетите немаат покрив се помалку безбедни при судар па дури и при помали инциденти можно е да има повеќе штета. Сега Porsche предлага вакво странично перниче што може да има важна улога во безбедноста на возилото и патниците.

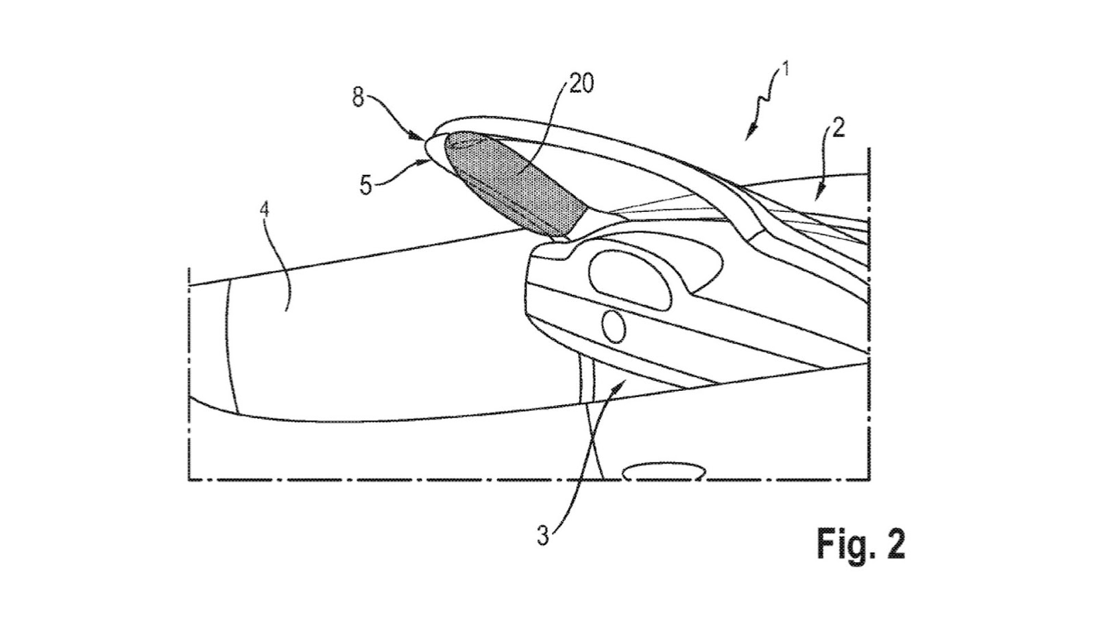
На скицата се покажува каде истото воздушно перниче е сместено, а според направените тестирања од страна на Porsche ова се покажало како корисно и ја зголемило безбедноста на патниците при судар.
Но, се разбира нема само кабриолетите да профитираат од ова, туку истото решение може да се користи и кај другите возила.








